DDRB-N型多點潤滑泵
| |||||||||||||||
|
二、技術參數
使用介質為錐入度不低于265(25℃,150g)1/10mm的潤滑脂或粘度等級大于N68的潤滑油,工作環境溫度為-20~80℃。 | |||||||||||||||
| 三、型號說明 | |||||||||||||||
| |||||||||||||||
| 四、動作說明 |
|||||||||||||||
|
DDRB-N型多點潤滑泵主要由貯油器、減速機構、壓油柱塞泵和電動機等部分組成。 電動機驅動蝸桿、蝸輪減速轉動,蝸輪軸帶動偏心驅動輪以低速轉動,由驅動輪的拉盤帶動壓油柱塞泵元件柱塞作往復的吸壓油運動,從而各泵元件的出油口向外排出潤滑劑。 | |||||||||||||||
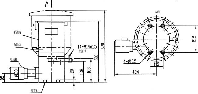
| 五、外形尺寸 | |||||||||||||||
![]() | |||||||||||||||
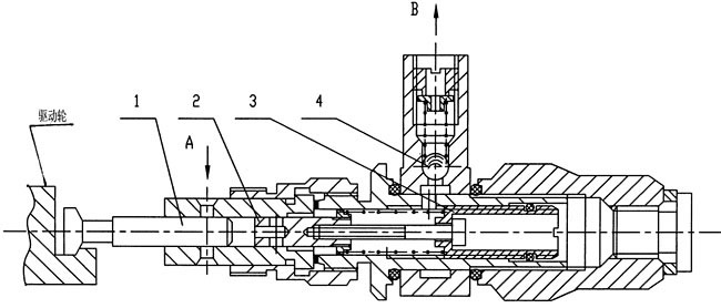
| 六、使用要領 | |||||||||||||||
| 1、該型多點潤滑泵應安裝在環境溫度合適,灰塵少,便于檢查、維護保養及方便補脂的地方。 2、向貯油器內補脂必須使用加油泵從貯油器的加油口加入,嚴禁揭蓋加入不經過濾的使用介質。 3、按貯油器筒壁上旋向牌規定的旋向進行電機接線,不得反轉。 4、給油口數可在1~14范圍內任意選擇,根據設備需要不用的壓油柱塞泵元件可以自行拆下,螺孔用M20×1.5螺塞封堵即可。 5、給油量的調整,按下圖調節序3螺套的位置即可獲得。 | |||||||||||||||
![]() | |||||||||||||||
|
1—工作活塞 2—控制活塞 3—調節螺套 4—單向閥 | |||||||||||||||
上一個: DB-N系列單線潤滑泵 下一個: CDQ型電動潤滑泵及裝置



